Ersatzteil Wahl:
Zylinder - Kolben Zylinderkopf Kurbelwelle / Auswuchtwelle Getriebe - Kupplung Ventilsteuerung Motorgehäuse links Motorgehäuse rechts Motordeckel links + rechts Schaltwalze Ölsystem Anlasser - Lichtmaschine Einspritzung Luftsystem & Filter Kühlsystem Rahmen / Fußrasten Sturzbügel - Kofferträger Gabel / Gabelbrücke Hinterradschwinge Umlenkung Federbein Lenker / Bedienelement Verkleidung - Sitzbank Kraftstofftank Auspuffsystem Bremssystem vorne Bremssystem ABS Bremssystem hinten Vorderrad Superdual T Vorderrad Superdual X Hinterrad Superdual T Hinterrad Superdual X Tachometer / Schlosssatz Elektrisches System Aufkleber Anbauzubehör
SWM Superdual 600 Euro4 2017
In dieser Shopkategorie bei teammayerparts.de finden Sie alle originale SWM Motorrad Ersatzteile für das Modell Superdual 600 Euro4 mit Baujahr 2017, in der Fahrgestellnummer enthält dieses Modell die Zahlen-/Buchstabenkombination B400AA (35 kw) oder B500AA (23 kw).
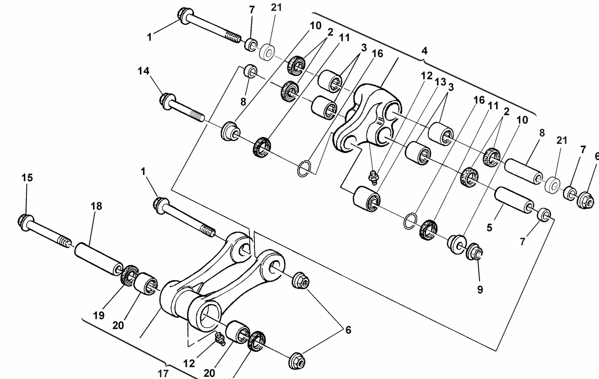
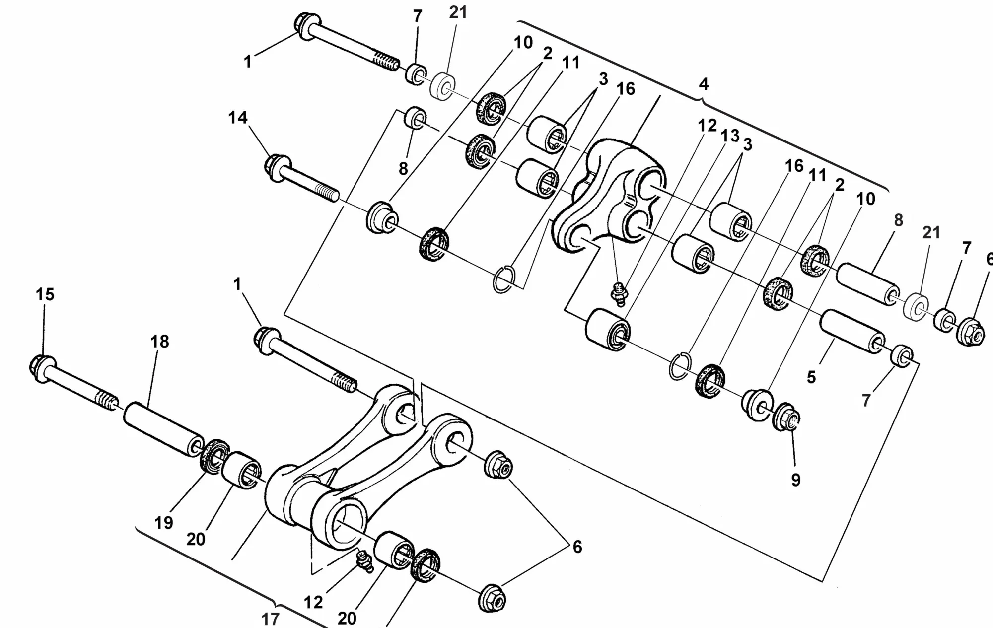
Die Auswahl der original Ersatzteile erfolgt über Explosionszeichnungen von jeder Baugruppe des SWM Motorrad Modells. Mit den Hot-Spots in den Teilezeichnungen können Sie die gewünschten Ersatzteile für Ihr SWM Motorrad schnell und einfach ausgewählt und bestellt werden.
Hinweis:
Achten Sie auf die Farbauswahl der Verkleidungsteile und der richtige Fahrzeugseite mancher Bauteile.



































