Ersatzteil Wahl:
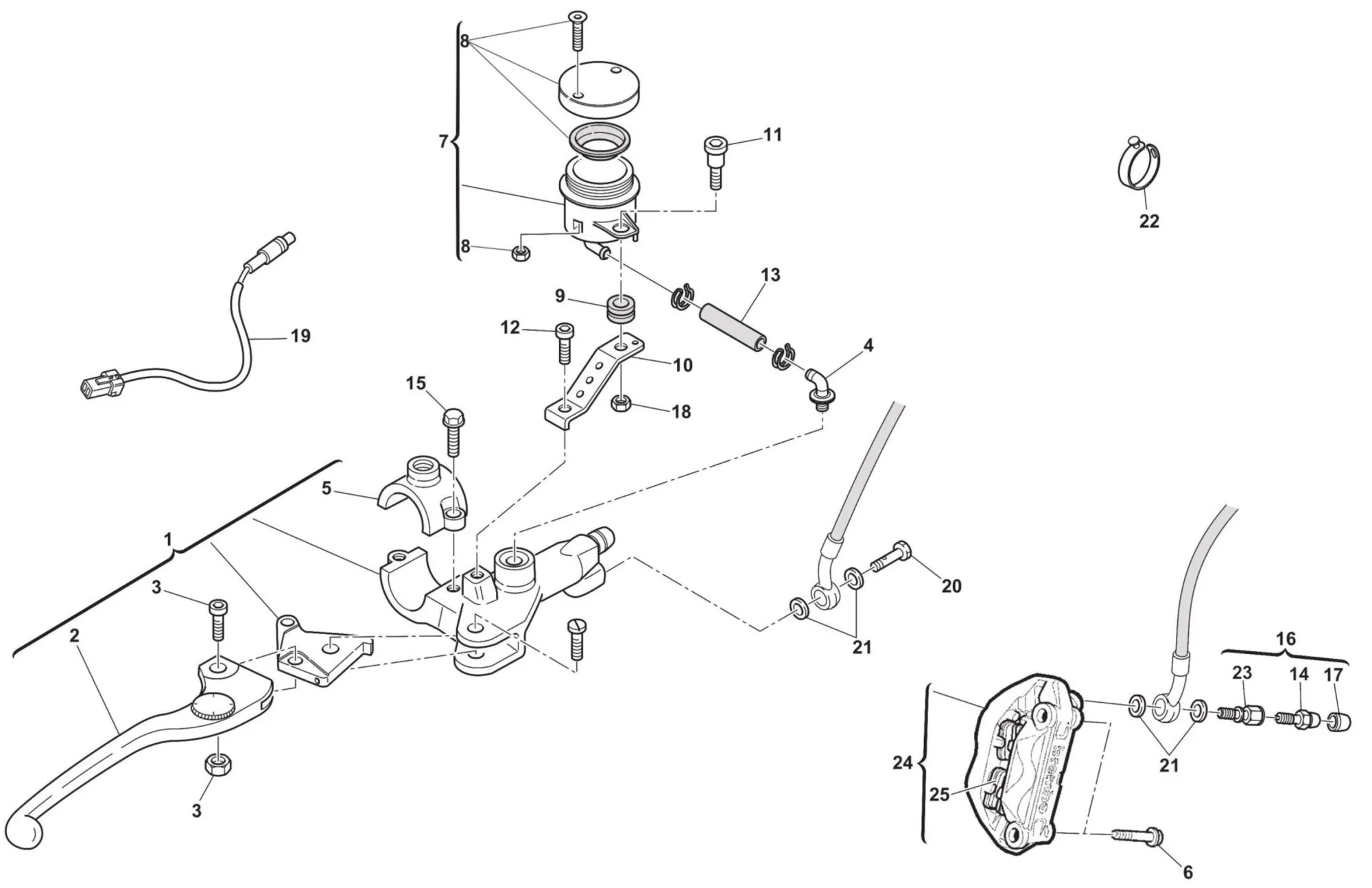
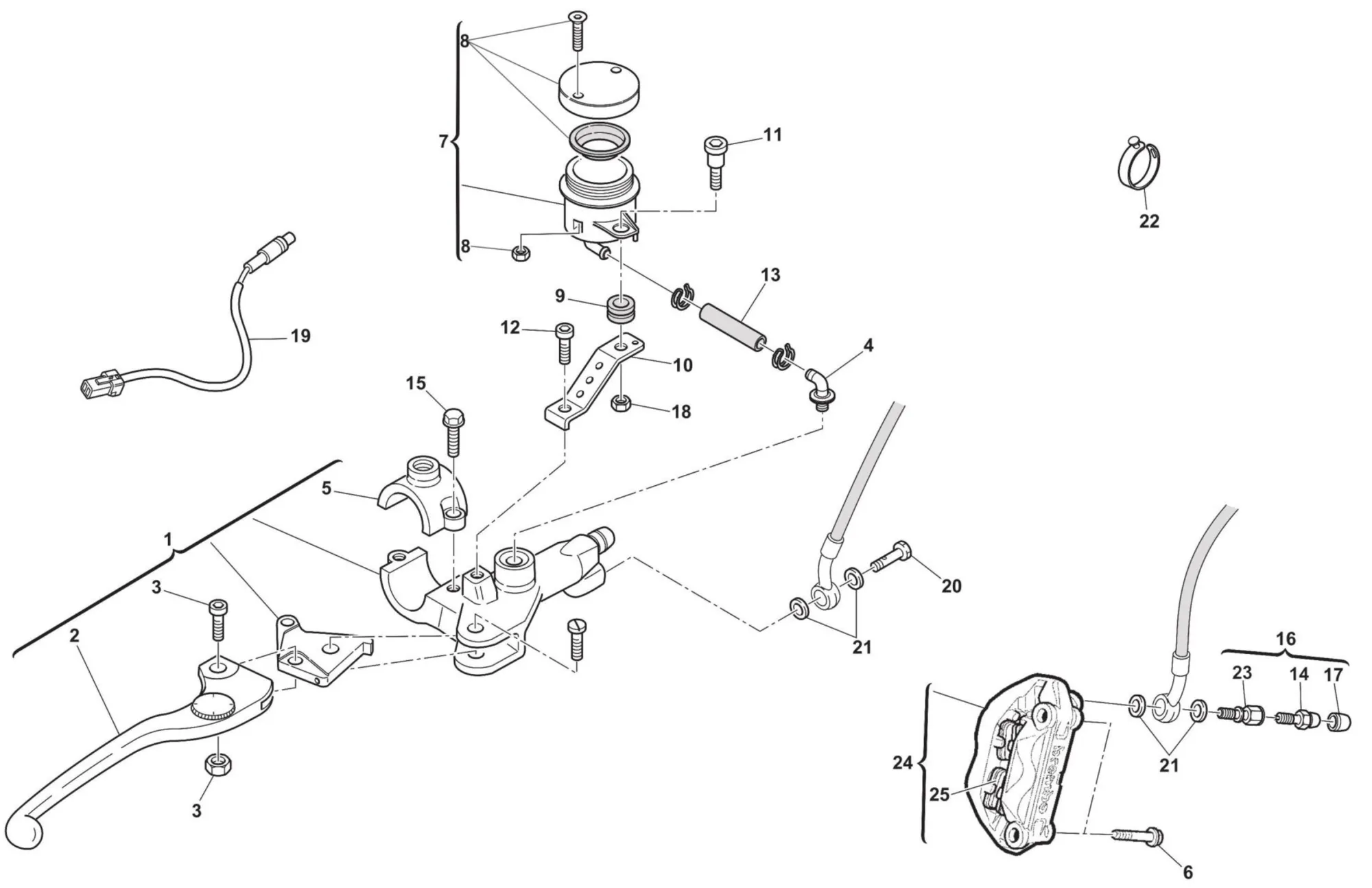
Zylinder - Kolben Zylinderkopf Ventilsteuerung Kurbelwellengehäuse links Kurbelwellengehäusedeckel rechts Schmierung Anlasser Getriebe - Schaltung Kühlsystem Luftsystem Rahmen Federbein Umlenkung Hinterradschwinge Lenker - Kupplungshebel Bremssystem hinten Kanister Auspuffsystem Vorderrad Hinterrad Kabelbaum Aufkleber Kurbelwelle Kurbelgehäusedeckel links Verkleidung - Sitzbank Kupplung Kurbelwellengehäuse rechts Lichtmaschine Einspritzung Gabel - Gabelbrücke ABS - System Kraftstofftank Bremssystem vorne Tachometer - Blinker
SWM SM 500 R Motard Euro5 2022-23
In dieser Shopkategorie bei teammayerparts.de finden Sie alle originale SWM Motorrad Ersatzteile für das Modell SM 500 R Euro4 mit Baujahr 2022-23.
Die Auswahl der original Ersatzteile erfolgt über Explosionszeichnungen von jeder Baugruppe des SWM Motorrad Modells. Mit den Hot-Spots in den Teilezeichnungen können Sie die gewünschten Ersatzteile für Ihr SWM Motorrad schnell und einfach ausgewählt und bestellt werden.
Hinweis:
Achten Sie auf die Farbauswahl der Verkleidungsteile und der richtige Fahrzeugseite mancher Bauteile.


































