Ersatzteil Wahl:
Ventildeckel Zylinderkopf Zylinder 1 Zylinder 2 Ventiltrieb Kolben, Kurbelwelle, Pleuel Kurbelgehäuse Getriebe Getriebewellen Starter Kupplung, CVT-Getriebe CVT-Gehäuse Motorabdeckung Rechts Ölpumpe Steuerkette, Spanner Wasserpumpe Einspritzsystem Schaltung Lenker Lenkung Vorderradaufhängung Vorderradaufhängung 2 Hinterradaufhängung Vorderrad Hinterrad Bremssystem Bremssystem 2 Auspuff Hitzeschutzabdeckung Luftfilter Tank Sitz Gepäckträger Rahmen Stossstange, Aufbauten Vorderachsgetriebe Vorderachsgetriebe 2 Differentialgetriebe hinten Differentialgetriebe hinten 2 Tachoabdeckung Frontverkleidung Innenkotflügel vorne Trittbrett Luftfiltergehäuse Kotflügel Hinten Staufach Kühlsystem Elektrik I Elektrik II Motorhalter CVT Luftkühlsystem Seilwinde, Anhängekupplung
QJ Motor SFA 600 ABS EPS One
In dieser Shopkategorie bei teammayerparts.de finden Sie alle originale QJ Motor Ersatzteile für das Modell QJ Motor SFA 600 ABS EPS One mit Baujahr 2025.
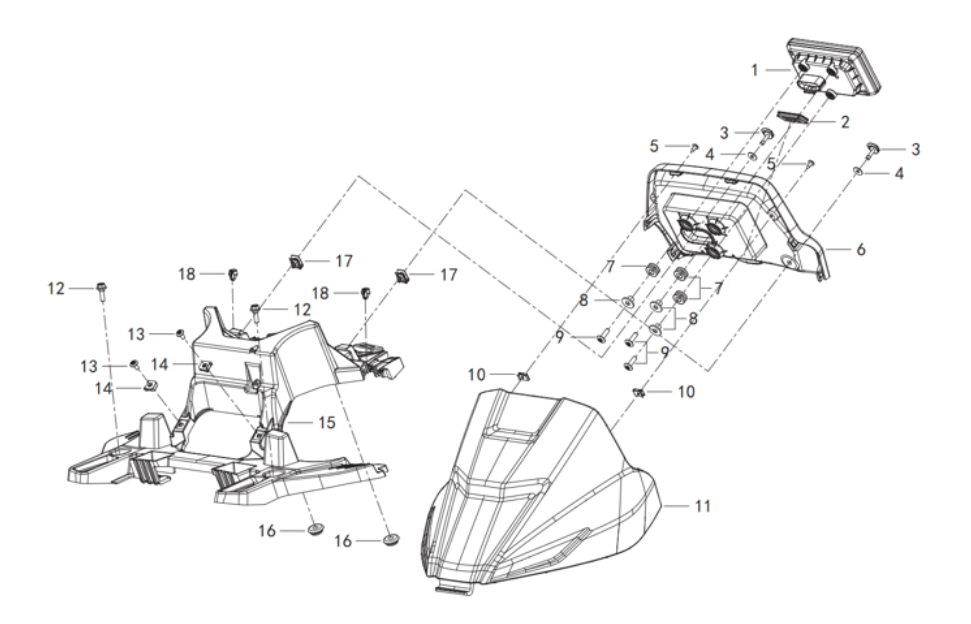
Die Auswahl der original Ersatzteile erfolgt über Explosionszeichnungen von jeder Baugruppe des QJ Motor Modells. Mit den Hot-Spots in den Teilezeichnungen können Sie die gewünschten Ersatzteile für Ihr QJ Motor Fahrzeug schnell und einfach ausgewählt und bestellt werden.
Hinweis:
Achten Sie auf die Farbauswahl der Verkleidungsteile und der richtige Fahrzeugseite mancher Bauteile.
