Ersatzteil Wahl:
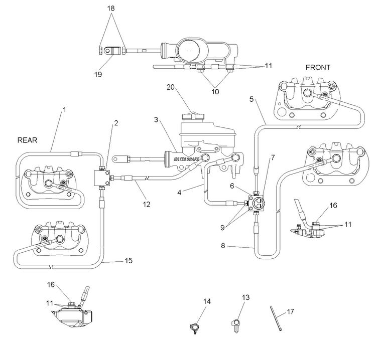
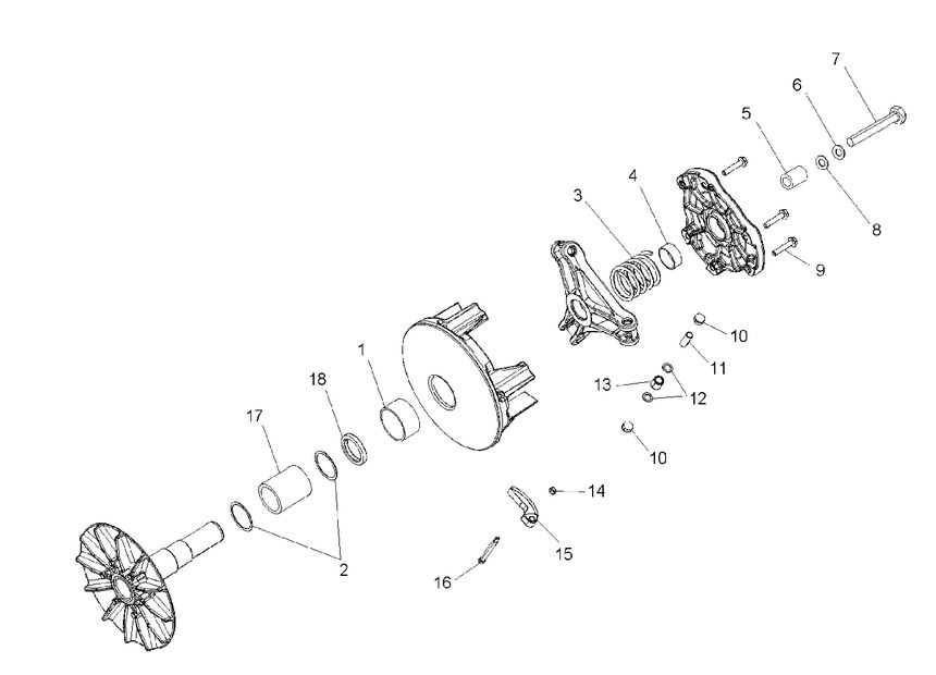
ENGINE, THERMOSTAT DRIVE TRAIN, FRONT GEARCASE INTERNALS ENGINE, STARTING MOTOR ENGINE, PISTON AND CYLINDER DRIVE TRAIN, FRONT GEARCASE DRIVE TRAIN, FRONT DRIVE SHAFT ENGINE, OIL PUMP AND WATER PUMP DRIVE TRAIN, CLUTCH COVER ENGINE, OIL FILTER AND DIPSTICK CHASSIS, FRAME AND FRONT BUMPER ENGINE, MOUNTING CHASSIS, CAB FRAME ENGINE, FUEL INJECTOR BRAKES, REAR CALIPER ENGINE, EXHAUST BRAKES, PEDAL AND MASTER CYLINDER MOUNTING ENGINE, CYLINDER HEAD AND VALVES BRAKES, PARK BRAKE ASM. ENGINE, CRANKSHAFT BRAKES, LINES AND MASTER CYLINDER ENGINE, CRANKCASE BRAKES, FRONT CALIPER ENGINE, COOLING SYSTEM ENGINE, CLUTCH AIR INTAKE BODY, TAILGATE ASM. BODY, STORAGE BOX ENGINE, AIR INTAKE SYSTEM BODY, SEAT AND BASE ELECTRICAL, SWITCHES, SENSORS AND ECU BODY, HOOD AND DASHBOARD ELECTRICAL, IGNITION SYSTEM BODY, FUEL TANK ASM. ELECTRICAL, HEADLIGHTS, TAILLIGHTS AND BULBS BODY, FLOOR AND FENDERS ELECTRICAL, HARNESSES BODY, DECALS BODY, BOX MOUNTING ELECTRICAL, GAUGES AND INDICATORS BODY, BOX ASM. ELECTRICAL, BATTERY DRIVE TRAIN, SECONDARY CLUTCH DRIVE TRAIN, REAR PROP SHAFT WHEELS, REAR DRIVE TRAIN, REAR HALF SHAFT WHEELS, FRONT SUSPENSION, REAR STABILIZER BAR DRIVE TRAIN, REAR GEARCASE MOUNTING DRIVE TRAIN, REAR GEARCASE SUSPENSION, REAR DRIVE TRAIN, PRIMARY CLUTCH SUSPENSION, FRONT STRUT DRIVE TRAIN, MAIN GEARCASE OUTPUT SHAFT SUSPENSION, A-ARM AND STRUT MOUNTING DRIVE TRAIN, MAIN GEARCASE MOUNTING STEERING, STEERING ASM. DRIVE TRAIN, MAIN GEARCASE INTERNALS DRIVE TRAIN, MAIN GEARCASE ENGINE, THROTTLE BODY MOUNTING DRIVE TRAIN, GEAR SELECTOR ENGINE, THROTTLE DRIVE TRAIN, FRONT PROP SHAFT
